ПРОМЫШЛЕННАЯ МАТЕМАТИКА

(к.ф.-м.н. В.Н. Котеров, д.ф.-м.н. В.И. Зубов, к.ф.-м.н.  В.М. Кривцов)

Появившийся сравнительно недавно термин промышленная математика (industrial mathematics) относится к использованию математических методов для решения задач промышленности, техники, и даже естественных наук. Промышленная математика – это, по существу, комплекс методов математического моделирования и вычислительных технологий, применяемый в широко понимаемой инженерной практике. Ниже представлены несколько работ, выполненных в данном направлении в отделе механики сплошных сред Вычислительного центра им. А.А. Дородницына РАН:

 

Моделирование нестационарных газодинамических процессов в магистральных газопроводах и оценки экологических последствий крупных аварий газопроводов

В [1] методы численного моделирования использовались для исследования особенностей нестационарных газодинамических процессов на морском участке газотранспортной системы «Голубой поток» (газопровод Россия – Турция, подводный переход через Черное море) как при штатных технологических мероприятиях (пуск или останов газопровода), так и при нештатных ситуациях (разрыв или значительное повреждение трубопровода). Работа включала

 

Глубина воды по трассе подводного газопровода (слева) и избыточное (по сравнению с давлением окружающей воды) давление газа при штатном режиме работы морского перегона (справа).

 

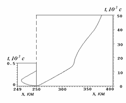
Авария с затеканием воды в трубопровод. Движение границы вода-газ (слева) и распределение давления газа p в трубопроводе (справа) при его полном разрыве в точке, отстоящей на 250 км от российского берега, для различных моментов времени. Жирные линии на графиках справа – участок трубопровода, заполненный водой. Факт аварии на Российской КС зарегистрированным быть не может. На Турецкой КС 10% падение давления во всасывающем коллекторе регистрируется спустя 3 час 15 мин после разрыва трубы.

 

Времена формирования 10%-го конечного отклика газотранспортной системы на факт аварии в зависимости от положения x точки разрыва (слева) и масса природного газа, поступающая в окружающую среду в результате разрыва трубопровода в точке x (справа; показано значение массы газа, запасенной в рассматриваемом участке трубопровода при его работе в номинальном стационарном режиме (15800 т)).

 

В [2] с помощью более простых методов анализируется предполагаемая картина физических явлений, сопровождающих крупномасштабную аварию (разрыв трубопровода) на морском участке магистрального газопровода. Приведены алгоритмы оценок интенсивностей, количеств и продолжительности действия основных факторов, определяющих экологические последствия этой аварии. Главные анализируемые вопросы сводятся к следующим:

 

[1]. Зубов В.И., Котеров В.Н., Кривцов В.М., Шипилин А.В. Нестационарные газодинамические процессы в газопроводе на подводном переходе через Черное море // Математическое моделирование. 2001. Т. 13. №4. С. 58-70.

[2]. Архипов Б.В., Котеров В.Н., Солбаков В.В., Юрезанская Ю.С. Применение математических методов для анализа и оценки экологически значимых событий при крупномасштабной аварии подводного газопровода // Сообщения по прикладной математике. М. ВЦ РАН, 2007. 74 с.

Моделирование рассеяния взвешенных веществ на океаническом шельфе

При проведении работ на океаническом шельфе, например при строительстве и эксплуатации буровых платформ, прокладке подводных трубопроводов, дноуглубительных работах и т. п., акватория вокруг места работ оказывается загрязненной взвешенными веществами. Возникает необходимость в оценке влияния этих антропогенных воздействий на окружающую среду. Подобные оценки, предваряющие осуществление любого крупного проекта, выполняются методами математического моделирования. Большой практический интерес, в частности, представляет расчет распределения минеральной взвеси сложного фракционного состава, в том числе и на значительных расстояниях от источника загрязнения, где концентрации субстанций невелики (~1 мг/л). Работы [1-15], выполненные совместно с сотрудниками сектора математического моделирования водных систем ВЦ РАН, посвящены решению этой задачи.

Схема распространения взвешенных веществ от водовыпуска гидротехнического сооружения.

 

При описании распространения взвешенных веществ можно выделить две качественно различные области, а именно «ближнюю зону», пространственный масштаб которой коррелирует с размером объекта, загрязняющего акваторию, и включающую контрольные створы «дальнюю зону», размер которой существенно превышает характерный размер ближней зоны.

В [1] представлена математическая модель струйного течения в ближней зоне, предназначенная для прогноза рассеяния промышленных сбросов с морских буровых платформ. Модель позволяет прогнозировать траекторию и форму шлейфа сброса. Она учитывает:

 

Вдали от источника загрязнения (в дальней зоне) концентрация взвешенных веществ падает и их можно рассматривать как пассивную примесь, отдельные фракции которой, во-первых, распространяются независимо друг от друга и, во-вторых, динамически не влияют на фоновое поле скорости жидкости. Это значительно упрощает задачу. Тем не менее, остается ряд проблем, связанных с тем, что

 

Целью работ [2-15] была разработка экономичной вычислительной методики моделирования переноса взвешенных веществ в дальней зоне (в том числе и для случая непрерывно действующего источника взвеси), учитывающей все перечисленные выше особенности явления. Использованные подходы состоят

 

К настоящему времени представленная выше программа работ полностью выполнена. Предложенный стохастический метод дискретных облаков, сочетающий достоинства часто используемого метода гауссовых облаков (см., например, [2]) и стохастического метода дискретных частиц (см., например, [6-9]), тестирован с использованием точного решения модельной задачи о распространении консервативной взвеси, порождаемой непрерывным источником в потоке со сдвигом скорости. Разработанная методика опробована на реальной задаче ОВОС (оценки воздействия на окружающую среду) [15].

 

Точное решение (изолинии усредненной по глубине концентрации консервативной взвеси [мг/л] в шлейфе загрязнения спустя 1 час после начала действия непрерывного источника загрязнения). Полностью однородный поток (сверху). Поток с горизонтальным сдвигом скорости (в центре). Поток с вертикальным сдвигом скорости (внизу).

 

Точное решение и расчет стохастическим методом дискретных облаков (распределения концентрации вдоль линий, указанных на предыдущем рисунке). Полностью однородный поток (сверху). Поток с горизонтальным сдвигом скорости (в центре). Поток с вертикальным сдвигом скорости (внизу). x – «параметр стохастичности» (при x=1 предложенный метод сводится к методу гауссовых облаков, а при x=0 – к стохастическому методу дискретных частиц).

 

Расчет дампинга (сброса) грунта в Азовском море в течение проведения дноуглубительных работ в порту Темрюк. Полигон дампинга 3´3 км (синий квадрат). Слева: расчетные изолинии МДК (максимальных концентраций взвеси, хотя бы один раз достигнутых в данной точке акватории за все время проведения работ). Справа: увеличение толщины донных отложений в результате проведения дампинга. Всего в течение 8.5 сут. последовательно осуществлен 201 сброс грунта по 265 т каждый.

 

[1]. Архипов Б.В., Котеров В.Н., Солбаков В.В. Модель АКС для прогноза распространения промышленных сбросов с морских буровых платформ // Сообщения по прикладной математике. М. ВЦ РАН, 2000. 72 с.

[2]. Архипов Б.В., Котеров В.Н., Кочерова А.С., Солбаков В.В., Хубларян Г.М. Расчет распространения взвешенных веществ в прибрежной области моря // Водные ресурсы. 2004. Т. 31. №1. С. 1-8.

[3]. Архипов Б.В., Котеров В.Н., Солбаков В.В., Шапочкин Д.А. Моделирование турбулентного рассеивания загрязняющих веществ в морской среде. // Сообщения по прикладной математике. М. ВЦ РАН, 2005. 52 с.

[4]. Архипов Б.В., Котеров В.Н., Солбаков В.В., Шапочкин Д.А., Юрезанская Ю.С. Применение математических методов для моделирования некоторых задач гидродинамики окружающей среды. // Сообщения по прикладной математике, изд. ВЦ РАН СССР, 2006. 36 с.

[5]. Архипов Б.В., Котеров В.Н., Солбаков В.В., Шапочкин Д.А., Юрезанская  Ю.С. Применение математических методов для моделирования гидродинамических и экологических процессов в шельфовой области океана // Тезисы докладов международной научной конференции «Методология современной науки. Моделирование сложных систем», г. Киров. Октябрь 2006. С27-28.

[6]. Архипов Б.В., Котеров В.Н., Солбаков В.В., Шапочкин Д.А., Юрезанская Ю.С. О численном моделировании распространения загрязняющих веществ и нефтяных разливов стохастическим методом дискретных частиц // Ж. вычисл. матем. и матем. физ. 2007. Т. 47. №2. С. 288-301.

[7]. Архипов Б.В., Котеров В.Н., Солбаков В.В., Шапочкин Д.А., Юрезанская Ю.С. О численном моделировании распространения загрязняющих веществ и нефтяных разливов стохастическим методом дискретных частиц // Материалы XV Международной конференции по вычислительной механике и современным прикладным программным системам (ВМСППС’2007).Алушта, 2007. С. 54-55.

[8]. Архипов Б.В., Котеров В.Н., Солбаков В.В., Шапочкин Д.А., Юрезанская Ю.С. Моделирование растекания нефти и распространения загрязнений в морской среде бессеточным методом // Метеорология и гидрология. 2007. Вып. 6. С. 44-59.

[9]. Boris Arkhipov, Vladimir Koterov, Viacheslav Solbakov, Dmitry Shapochkin, Yulia Yurezanskaya. Numerical Modeling of Pollutant Dispersion and Oil Spreading by the Stochastic Discrete Particles Method. // Studies in Applied Mathematics. 2008. V.120 (1). P. 87–104.

[10]. Архипов Б.В., Котеров В.Н., Солбаков В.В., Шапочкин Д.А., Юрезанская Ю.С. Математическое моделирование при решении задач оценки воздействия на окружающую среду // Сборник докладов международной конференции «Международное сотрудничество и развитие биотехнологий в Кировской области». 27-28 марта 2008, Киров. С. 56-61.

[11]. Котеров В.Н., Юрезанская Ю.С. Моделирование рассеяния взвешенных веществ на океаническом шельфе // Материалы XVI Международной конференции по вычислительной механике и современным прикладным программным системам (ВМСППС’2009). Алушта, 2009. С. 54-55.

[12]. Котеров В.Н., Юрезанская Ю.С. Моделирование распространения пассивной примеси на океаническом шельфе // Вестник МАИ. 2009. Т. 16. №7. С. 125-131.

[13]. Котеров В.Н., Юрезанская Ю.С. Моделирование переноса взвешенных веществ на океаническом шельфе. Эффективная гидравлическая крупность полидисперсной взвеси // Ж. вычисл. матем. и матем. физ. 2009. Т. 49. №7. С. 1306-1318.

[14]. Котеров В.Н., Юрезанская Ю.С. Моделирование переноса взвешенных веществ на океаническом шельфе. Горизонтальное рассеяние // Ж. вычисл. матем. и матем. физ. 2010. Т. 50. №2. С. 375-387.

[15]. Котеров В.Н., Юрезанская Ю.С. Моделирование переноса взвешенных веществ на океаническом шельфе. Расчет дампинга грунта в Азовском море // Ж. вычисл. матем. и матем. физ. 2010. Т. 50. №4. С. 746-756.

 

Моделирование вынужденной конвекции и переноса капельной влаги в районе водосброса крупного гидроузла

В ряде крупных ГЭС, использующих поверхностные водосбросы для пропуска расхода сезонных паводков, сопряжение бьефов, разделенных водосливной плотиной высотой порядка ста и более метров, осуществляется путем отброса струй водосброса с помощью носиков-трамплинов специальной конструкции, обеспечивающих интенсивное дробление сбросного потока, что необходимо для уменьшения размыва русла потока за сооружением. Однако при этом в области падения сбросных струй, как правило, образуется водяная пыль (капельная влага), которая при неблагоприятной орографии нижнего бьефа, распространяясь на рабочие площадки, усложняет как проведение строительных работ, так и эксплуатацию энергетических установок.

 

Водно-воздушное облако, образующееся в нижнем бьефе гидроузла «Капанда» (Ангола) при работе водосбросов трамплинного типа.

 

1 – турбулентная струя, формирующаяся на носиках-трамплинах водосброса;

2 – «вовлечение» воздуха в турбулентную струю;

3 – область выброса воздуха, «вовлеченного» турбулентной струей; в этой области происходит интенсивное образование капельной влаги;

4 – перенос капельной влаги воздушным потоком, сопровождающийся укрупнением капель за счет гравитационной коагуляции;

5 – выпадение крупных капель на подстилающую поверхность в виде осадков.

Концептуальная модель циркуляции воздуха и переноса капельной влаги в нижнем бьефе крупного гидроузла с водосбросом трамплинного типа.

 

Разработанная в [1-4] математическая модель явления состоит из

 

Результаты расчета распространения капельной влаги (осадки; сравнение с экспериментальными данными).

 

Для тестирования модели использованы данные натурных наблюдений, полученные на ГЭС «Капанда» (Аногола) в период паводка в 2004 г.

Модель применялась [3] для расчета объемов капельной влаги, попадающей в воздухозабор здания ГЭС «Капанда» при максимальном режиме работы водосбросных сооружений, и для выяснения эффективности влияния на эти объемы разделительной стенки, которую предполагалось возвести для защиты площадок ГЭС от проникновения водно-воздушного облака.

 

[1]. Котеров В.Н., Архипов Б.В. Математическое моделирование переноса капельной влаги в районе водосброса крупного гидроузла // Материалы XV Международной конференции по вычислительной механике и современным прикладным программным системам (ВМСППС’2007). 25-31 мая, 2007, Алушта. C. 299-301.

[2]. Котеров В.Н., Архипов Б.В., Беликов В.В., Солбаков В.В., Федосов В.Е. Численное моделирование образования и переноса капельной влаги в нижнем бьефе гидроузла при работе водосборов трамплинного типа // Гидротехническое строительство. 2007. Вып. 7. С. 17-27.

[3]. Котеров В.Н., Архипов Б.В., Беликов В.В., Солбаков В.В., Федосов В.Е. Численное моделирование переноса капельной влаги в нижнем бьефе гидроузла «Капанда» с учётом влияния разделительной стенки и воздухозаборов ГЭС // Научно-технический и производственный сборник «Безопасность энергетических сооружений». 2007. Вып.16. С. 89-97.

[4]. Котеров В.Н., Архипов Б.В., Беликов В.В., Солбаков В.В. Образование и перенос капельной влаги в нижнем бьефе гидроузла // Математическое моделирование. 2008. Т 20. №5. С. 78-92.

Моделирование пространственных течений газа в многоступенчатых охлаждаемых осевых турбинах

Работы в этом направлении выполнялись в отделе механики сплошных сред ВЦ РАН с первой половины 90-х годов прошлого века. Начав с двух двумерных постановок [1, 2], до сих пор применяемых в практике турбиностроения, небольшой коллектив сотрудников отдела к середине 90-х годов перешел к трехмерному описанию движения газа в многоступенчатой турбомашине на основе уравнений Эйлера, дополненных членами, моделирующими возрастание энтропии в струйках тока течения [3, 4]. Дальнейшим развитием этого направления явилось создание математической модели и реализующего ее комплекса программ, в которых двухкомпонентный газовый поток, включающий продукты сгорания углеводородного топлива и охлаждающий воздух, выдуваемый с поверхности лопаток, корпуса и втулки многоступенчатой турбины, описывается на основе осредненных по Рейнольдсу уравнений Навье-Стокса и современной двухпараметрической модели турбулентности [5, 6].

Программный комплекс построен по модульному принципу и включает следующие программные единицы:

 

Разностная сетка «среднего разрешения» в меридиональном (слева) и радиальном (справа) сечениях двухступенчатой турбины авиационного турбореактивного двигателя.

 

Расчетная статическая температура в статоре ступени высокого давления в меридиональном (слева) и радиальном (справа) сечениях.

 

Расчетная статическая температура в роторе ступени высокого давления в меридиональном (слева) и радиальном (справа) сечениях.

 

Распределение числа Маха в статоре ступени высокого давления в меридиональном (слева) и радиальном (справа) сечениях.

 

Распределение числа Маха в роторе ступени высокого давления в меридиональном (слева) и радиальном (справа) сечениях.

 

[1]. Dokolin A.Yu., Osipov I. L., Shipilin A.V. Computation of Transonic Gas Flow past Plane Turbine Cascades // Modern Problem in Computational Aerohydrodynamics. Mir Publishers Moscow/CRS Press. Boca Raton Ann Arbor London.1992. P. 20-33.

[2]. Krivtsov V.M., Shipilin A.V., Zubov V.I. Calculation of averaged axial symmetry gas flow in turbomachine // Preprints of the Fourth Japan-Russia joint symposium on Computational Fluid Dynamics. Aug. 23-26,1994. Kyoto Institute of Technology. Kyoto, Japan. P. 76.

[3]. Зубов В.И., Котеров В.Н., Кривцов В.М., Шипилин А.В. Комплекс программ для расчета трехмерного течения газа в проточной части многоступенчатой осевой турбины // Сообщения по прикладной математике. М. ВЦ РАН. 1997. 62 с.

[4]. Koterov V.N., Krivtsov V.M., Shipilin A.V., Zubov V.I. Computer-aided 3D_E technique in the design of axial turbines // Comm. on applied math. Computing centre of RAS. Moscow. 1998. 27 p.

[5]. Ашрафьян Э.Э., Гойхенберг М.М., Зубов В.И., Котеров В.Н., Кривцов В.М., Шипилин А.В. Компьютерная модель 3dNS для расчета пространственных течений вязкого газа в многоступенчатых охлаждаемых осевых турбинах // Сообщения по прикладной математике. М. ВЦ РАН, 2001. 47 с.

[6]. Гойхенберг М.М., Дробышевский А.Н., Зубов В.И., Котеров В.Н., Кривцов В.М., Стародумов А.В. Математическая модель и пакет программ для расчета трехмерных течений газа в многоступенчатых охлаждаемых осевых турбинах // Труды Всероссийской конференции «Прикладная геометрия, построение расчетных сеток и высокопроизводительные вычисления», M. ВЦ РАН, 28 нюня – 1 июля 2004 г. Т. 1. С 119-130.

[7]. Котеров В.Н. Опыт построения пространственных сеток для расчета течения газа в осевых турбинах с использованием вариационного барьерного метода // Труды Всероссийской конференции «Прикладная геометрия, построение расчетных сеток и высокопроизводительные вычисления», M. ВЦ РАН, 28 нюня – 1 июля 2004 г. Т. 1. С. 64-75.

[8]. Котеров В.Н. Построение пространственных сеток в многоступенчатых осевых турбинах с использованием вариационного барьерного метода // Ж. вычисл. матем. и матем. физ. 2005. Т.45. №8. С. 1374-1382.

Моделирование пространственного течения газа в авиационных регулируемых эжекторных соплах

Современные авиационные регулируемые эжекторные сопла представляют собой трехмерные устройства, состоящие из внутреннего (первичного) сопла и охватывающего это сопло эжекторного контура. Расчет параметров течения газа в таком сопле представляет собой комбинированную задачу внутренней и внешней аэродинамики, находящуюся на пределе возможностей современной вычислительной техники. Сложность этой задачи заключается

 

Макет «плоского» авиационного эжекторного сопла.

 

Опыт моделирования трехмерных течений газа в осевых турбинах, накопленный в отделе механики сплошных сред ВЦ РАН, позволил разработать и реализовать математическую модель течения газа в эжекторном сопле [1, 2], обладающую следующими особенностями:

 

Комплекс программ, реализующих модель, обеспечивает проведение серийных численных расчетов, позволяющих оценивать влияние на тяговые и другие характеристики рассматриваемого устройства задаваемых пользователем входных параметров, таких как геометрические характеристики сопла, условия в набегающем внешнем потоке, параметры газа на входном срезе внутреннего газодинамического сопла. На комплекс программ получено официальное свидетельство о регистрации [3].

 

Пример численного моделирования «холодных» продувок макета плоского эжекторного сопла. Слева: распределение статической температуры в среднем вертикальном сечении сопла. В центре: линии тока течения в вертикальной плоскости, проходящей через межкорпусной зазор (стенки не показаны); в застойной зоне видны вихревые области. Справа: линии тока течения в области за соплом (стенки не показаны); видно формирование вихревых жгутов.

 

Примеры моделирования «горячих» продувок (в первичном сопле реальные продукты сгорания углеводородного топлива). Распределения статической температуры в среднем вертикальном сечении сопла. Слева: закрытые створки эжекторного контура («узкое» эжекторное сопло). Справа: несимметричное (в вертикальной плоскости) течение.

 

[1]. Зубов В.И., Инякин В.И., Калачев Е.Н., Котеров В.Н., Кривцов В.М. Численное моделирование пространственных течений газа в неосесимметричных эжекторных соплах // Труды всероссийской конференции «Прикладная геометрия, построение расчетных сеток и высокопроизводительные вычисления». М. ВЦ РАН, 28 июня – 1 июля 2004 г. Т.1. С. 131-142.

[2]. Зубов В.И., Инякин В.А., Котеров В.Н., Кривцов В.М. Численное моделирование пространственных турбулентных течений газа в сложных сопловых устройствах // Ж. вычисл. матем. и матем. физ. 2005. Т.45. № 10. С. 1871-1886.

[3]. Зубов В.И., Калачев Е.Н., Котеров В.Н., Кривцов В.М., Шипилин А.В. Комплекс программ для проведения численных расчетов параметров течения внутри схематизированного плоского эжекторного сопла при наличии внешнего обтекания. Свидетельство об официальной регистрации программы для ЭВМ №2004610454 от 16 февраля 2004 г. Российское агентство по патентам и товарным знакам (РОСПАТЕНТ).

 

Возврат на основную страницу отдела механики сплошных сред